lightlayer新上的香港VPS,价格都是5美元起步,分限制流量款和不限流量款,本文针对 lightlayer香港机房做相关简单测评,方便大家购买参考。
lightlayer香港VPS国内三网直连,其中电信CN2来去程,延迟很低,速度也还不错,套餐支持在基础配置上diy升级,支持安装Linux或者Windows系统。
官方网站:
香港VPS套餐:
| CPU | 内存 | 硬盘 | 流量 | 价格 | 购买 |
| 1核 | 1GB | 50G SSD | 10M不限 | $5/月 | 链接 |
| 1核 | 1GB | 50G SSD | 500GB/20Mbps | $5/月 | 链接 |
配置信息/IO读写测试:
国内三网+教育网下载:
Speedtest亚洲节点上行下行测试:
Speedtest全球节点上行下行测试:
Iperf3欧美地区的节点的测试:
测试机BIN文件,呼和浩特市电信本地下载测试:
Unix bench Mark性能跑分测试:
国内ping测试:
全球丢包测试:
电信去程测试:
电信回程测试:
联通去程测试:
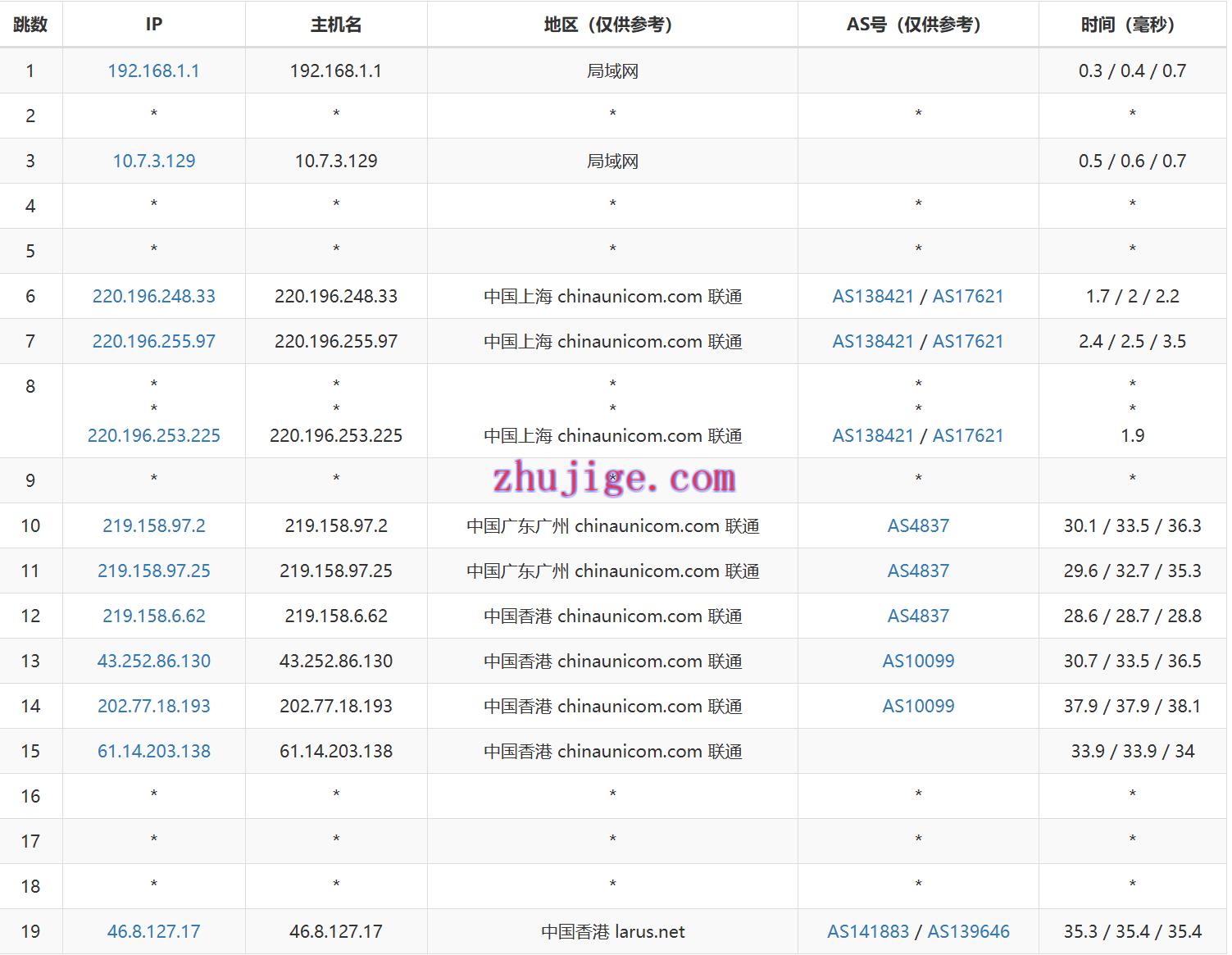
联通回程测试:
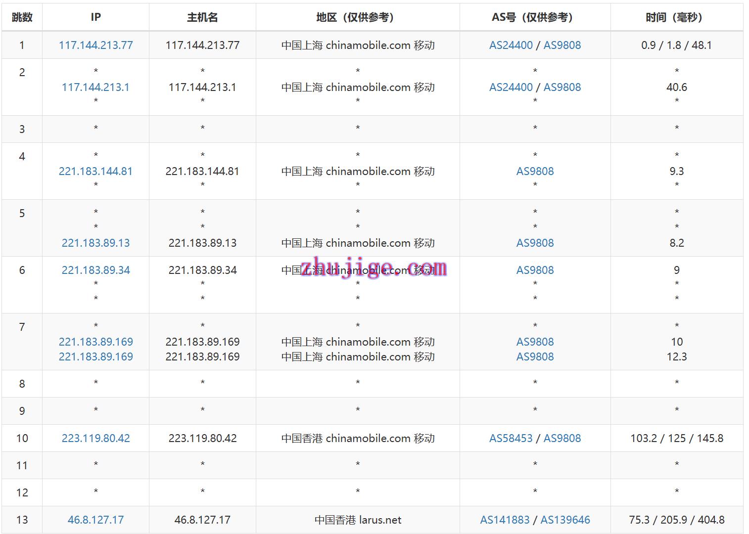
移动去程测试:
移动回程测试:


























