桔子数据香港大带宽云服务器,母鸡cpu为AMD EPYC 7K62,100M大带宽,可升级200M、300M、500M,线路为三网CN2 GIA专线,延迟30ms,免备案,价格低至26.6/月起。桔子数据是江苏铭联云计算有限公司旗下的云计算服务品牌,专注为个人开发者用户、中小型、大型企业用户提供一站式核心网络云端部署服务,促使用户云端部署化简为零,轻松快捷运用云计算。主要从事云服务器、独立服务器、虚拟服务器、游戏服务器销售等业务,以中国香港CN2、美国洛杉矶CN2、日本东京CN2、国内成都高防服务器以及国内游戏云服务器产品!
官网:
优惠吗:
H8P5lC9b 7折循环优惠
香港大带宽云服务器:
- CPU:1核
- 内存:1GB
- 硬盘:20GB
- 带宽:100Mbps
- 流量:500GB/月
- 价格:26.6/月起
- 购买:链接
站长简单测评:
配置信息/IO读写测试:
Speedtest亚洲节点上行下行测试:
国内ping测试:
电信回程测试:
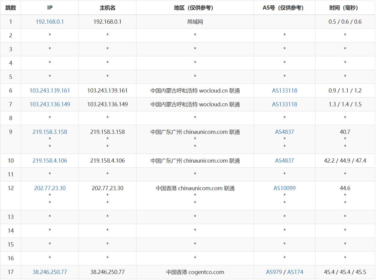
联通去程测试:
联通回程测试:
移动去程测试:
移动回程测试:


























